中心論題:
- 振動馬達有著廣泛的應用,多數分為直流有刷或無刷電機,有扁平和圓柱兩種基本的結構
- 介紹無刷直流扁平振動馬達的基本構造
- A1442 BLDC馬達驅動電路集成了主動制動、睡眠模式、防空轉,反向電池保護等功能,是驅動馬達唯一必須的的IC
解決方案:
- 利用數字換向與線性軟開關避免電火花,從而避免寬帶射頻干擾(RFI)干擾
- 利用旁路電容降低在開關電源的電感負載時產生的瞬時電壓峰值
- 利用A1442 BLDC馬達驅動電路實現主動制動、睡眠模式、防空轉,反向電池保護等功能
振動馬達用于各種應用中,包括手機、游戲操縱桿、手持游戲機、尋呼機、牙刷及剔須刀等。最令人感興趣的是手機市場,該市場的全球手機出貨量在2007年已經超過10億部。手機市場推動著微型振動馬達設計與制造技術方面的創新。較小的手機要求馬達占用較少的PCB面積,并需要馬達采用較薄的設計。手機中還采用了進行來電顯示振鈴及游戲應用的馬達。
多數振動馬達由一個較小的電動馬達驅動一個偏心配重,如圖1所示。馬達分為直流有刷或無刷電機,有兩種基本的結構:硬幣狀(扁平)與圓柱形(條狀)。

柱型馬達是采用傳統軸向設計的簡單有刷電機,如圖2所示。用于多種應用中,但由于體積較大,不適合在手機中應用。柱型馬達在手機中需要較大的空間,直徑是所有振動馬達中最大的。

在電刷切換馬達線圈的電流時,所有的有刷電機在換向點會產生電火花。這些電火花是寬帶射頻干擾(RFI)的最佳發射源。電刷會發生磨損,這是馬達故障的最主要原因。
更小、更薄的設計需求促成了將有刷電機技術用于扁平振動馬達中,如圖3所示。與電刷接觸的換向點對轉子中的電動線圈進行激勵。激勵線圈時會產生一個磁場,該磁場可與集成在定子中的環形磁鐵作用,產生旋轉。
如圖3所示,換向點以交變的極性對排列,當轉子運動時,線圈在通過換向點時不斷地改變極性。馬達如此以與所施加電壓成正比例的速度持續地旋轉。扁平振動馬達中更復雜的電刷一般比柱形馬達電刷的可靠性差一些。

無刷振動電機
如前所述,無刷電機具有較長的壽命,并由于產生的電火花較少,也沒有了RFI干擾。無刷直流(BLDC)設計還提供業內直徑最小、厚度最薄的扁平振動馬達。圖4介紹了這種馬達的基本構造。
在這種設計中,轉子組件中包含了磁鐵和在旋轉時產生振動的配重。較大的線圈移到了定子內,在定子中連接到控制IC。
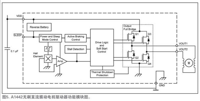
數字換向與線性軟開關避免了電火花,從而也避免了RFI干擾。Allegro完全集成的A1442霍爾效應傳感器與精密放大器通過比較器電路連接到一個內部全橋輸出電路,該比較器可確定適當的換向點。圖4中馬達的第三條線是可選的,它連接到A1442的啟用針腳(enable pin),用作控制主動制動與睡眠功能。第三線可將IC針腳連接到PCB的VCC。

A1442是驅動馬達唯一必須的的IC。圖5所示的功能模塊圖說明了設備運行和先進的特性。注意圖4和圖5中,采用集成的霍爾傳感器免除了外部霍爾傳感器,從而減少了馬達PCB元件數量。唯一所需的外部元件是一種標準電路特性——位于應用馬達安裝PCB上的0.1µF的旁路電容,它用于降低在開關電源的電感負載時產生的瞬時電壓峰值。

軟開關與換向
當設備加電時,它可檢測到磁場并激活電橋。活動的晶體管根據磁極來設定。南極磁場激活輸出晶體管Q1與Q4,驅動電流從VOUT1流行VOUT2。當北極磁場出現接近時(旋轉),Q1與Q4關閉,而Q2和Q3導通。該驅動電流從VOUT2流向VOUT1,從而逆轉了經過線圈的電流方向。
馬達的設計會有所變化,但其最大的轉速范圍從9,000rpm到15,000rpm。多數的設計采用四極的轉子磁鐵,有些少數的設計采用六極磁鐵。使用這些參數,使用下面的等式可輕松地計算出換向開關頻率(fCS , Hz):
fCS = RPM × PP/60,
其中PP為磁極對的數量。對于轉速為9,000rpm的四極磁鐵,fCS為300Hz。對于轉速為9,000rpm的四極磁鐵,fCS為750Hz。因此,換向信號與線圈電流開關事件均在在音頻范圍內。軟開關驅動算法為通過逐漸降低線圈中的電流然后反轉其方向,可減少由開關感應馬達線圈負載所產生的音頻噪音及EMI。圖6中的時序圖說明了開關活動的過程。

主動制動、睡眠模式、防空轉
A1442 BLDC馬達驅動電路集成了主動制動功能,可用于快速停止或啟動循環。當手機處于睡眠模式時,快速停止或啟動循環在手機振鈴、來電顯示中十分有用,也用于游戲應用中。制動功能可用睡眠針腳激活,如圖5所示。
在一個低信號施加到睡眠針腳時,馬達會啟動主動制動功能:反轉輸出橋的極性,從而反轉電流方向。反轉電流方向而使磁場反轉的效果,是為了施加一個以反方向旋轉馬達的力,這樣可迅速地降低其速度。制動后,馬達驅動電路關閉活動電路IC,而進入睡眠模式。
在睡眠模式下,IC的電流消耗通常小于1µA。睡眠模式可免除客戶PCB上的FET晶體管,不然必須要有這種晶體管來關閉或開啟馬達的電源。這樣,電機就可永久地連接到電池上。
如果電機停止,驅動電路會發起一個防空轉算法。當電機出現停止時,輸出會不斷地開啟與關閉來重啟馬達。開關循環生成力矩循環來抖動電機以增加啟動的機會。它還預防能損壞馬達線圈的連續停止電流。
A1442中集成了反向電池保護功能,以防止馬達線錯誤地反焊到PCB上,這樣也便于重新加工。如果設備關閉時線圈的輸出意外地短路,馬達驅動電路的熱關閉保護功能會在IC預熱時禁用輸出。反向電池保與熱關閉對組裝車間及在OEM電路板裝配線上返工是非常強大的功能。
隨著超薄設計的出現,振動馬達的厚度成為一個重要的賣點。現在馬達厚度接近1.5mm甚至更薄,利用EW封裝–MLP(DFN)的最大總封裝高度0.4mm,長度與寬度僅為1.5mm×2mm,可實現更大的設計靈活性。




