中心議題:
- 介紹鋰離子電池保護電路的原理及主要設計思路
- 通過計算確定該電路的相關參數
解決方案:
- 在電池包內設計保護線路,保護鋰電池
- 不明原因造成過電流或短路時,必須使鋰電池立即停止放電
近年來,鋰電池由于具有體積小、質量輕、能量密度高、無記憶效應、循環壽命高、電池電壓高和自放電率低等優點,因而在PDA 、數碼相機、手機、便攜式音訊設備和藍牙設備等越來越多的產品上采用鋰電池作為主要電源。但鋰電池與鎳鎘、鎳氫電池不太一樣,鋰電池必須考慮充電、放電時的安全性,以防止特性劣化。但鋰離子電池能量密度高,難以確保電池的安全性,在過度充電狀態下,電池溫度上升后能量將過剩,于是電解液分解而產生氣體,容易使內壓上升而產生自燃或破裂的危險;反之,在過度放電狀態下,電解液因分解導致電池特性及耐久性劣化,降低可充電次數。因此鋰電池的過充、過度放電、過電流及短路保護很重要,所以通常都會在電池包內設計保護線路,用以保護鋰電池。
電路設計
a.電路概述
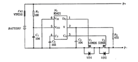
鋰離子電池保護電路包括過度充電保護、過電流/ 短路保護和過放電保護等,該電路就是要確保這樣的過度充電及放電狀態時的安全,并防止特性劣化。它主要由集成保護電路IC、貼片電阻、貼片電容、場效應管(MOSFET) 、有的還有熱敏電阻(NTC) 、識別電阻( ID) 、保險絲( FUSE) 等構成。其電路圖如圖1所示。

圖1 鋰離子電池保護電路圖
其中集成保護電路IC 用來檢測保護電路當前的電壓、電流、時間等參數以此來控制場效應管的開關狀態;場效應管(MOSFET) 則根據保護IC 來控制回路中是否有需開或關; 貼片電阻用作限流; 貼片電容作用為濾波、調節延遲時間;熱敏電阻用來檢測電池塊內的環境溫度; 保險絲防止流過電池的電流過大,切斷電流回路。
b.電路原理及參數確定
過度充電保護
當充電器對鋰電池過度充電時,鋰電池會因溫度上升而導致內壓上升,需終止當前充電的狀態。此時,集成保護電路IC 需檢測電池電壓,當到達4.25V 時(假設電池過充電壓臨界點為4.25 V) 即激活過度充電保護,將功率MOS 由開轉為切斷,進而截止充電。另外,為防止由于噪音所產生的過度充電而誤判為過充保護,因此需要設定延遲時間,并且延遲時間不能短于噪音的持續時間以免誤判。過充電保護延時時間tvdet1計算公式為:
t vdet1 = { C3 ×( Vdd - 0. 7) }/ (0. 48 ×10 - 6 ) (1)
式中: Vdd為保護N1 的過充電檢測電壓值。
簡便計算延時時間: t = C3/ 0. 01 ×77 (ms) (2)
如若C3 容值為0.22 F ,則延時值為:0. 22 /0. 01 ×77 = 1694 (ms)
過度放電保護
在過度放電的情況下,電解液因分解而導致電池特性劣化,并造成充電次數的降低。過度放電保護IC 原理:為了防止鋰電池的過度放電狀態,假設鋰電池接上負載,當鋰電池電壓低于其過度放電電壓檢測點(假定為2.3 V) 時將激活過度放電保護,使功率MOS FET 由開轉變為切斷而截止放電,以避免電池過度放電現象產生,并將電池保持在低靜態電流的待機模式,此時的電流僅0.1μA 。當鋰電池接上充電器,且此時鋰電池電壓高于過度放電電壓時,過度放電保護功能方可解除。另外,考慮到脈沖放電的情況,過放電檢測電路設有延遲時間以避免產生誤動作。
過電流及短路電流保護
因為不明原因(放電時或正負極遭金屬物誤觸) 造成過電流或短路,為確保安全,必須使其立即停止放電。過電流保護IC 原理為,當放電電流過大或短路情況產生時,保護IC 將激活過(短路) 電流保護,此時過電流的檢測是將功率MOSFET 的Rds (on) 當成感應阻抗用以監測其電壓的下降情形,如果比所定的過電流檢測電壓還高則停止放電,運算公式為:
V_ = I ×Rds ( on) ×2 ( V_為過電流檢測電壓, I 為放電電流) (3)假設V_ = 0. 2V , Rds (on) = 25 mΩ,則保護電流的大小為I = 4 A 。
同樣,過電流檢測也必須設有延遲時間以防有突發電流流入時產生誤動作。通常在過電流產生后,若能去除過電流因素(例如馬上與負載脫離) ,將會恢復其正常狀態,可以再進行正常的充放電動作。
結束語
在進行保護電路設計時使電池充電到飽滿的狀態是使用者很關心的問題,同時兼顧到安全性問題,因此需要在達到容許電壓時截止充電狀態。要同時符合這兩個條件,必須有高精密度的檢測器,目前檢測器的精密度為25 mV 。另外還必須考慮到集成保護電路IC 功耗、耐高電壓問題。此外為了使功率MOSFET的Rds ( on) 在充電電流與放電電流時有效應用, 需使該阻抗值盡量低, 目前該阻抗約為20~30 mΩ,這樣過電流檢測電壓就可較低。





